Weboldalunk használatával jóváhagyja a cookie-k használatát a Cookie-kkal kapcsolatos irányelv értelmében.
Beállítások módosítása
Elfogadom
Szükséges cookie-k
Ezek a cookie-k segítenek abban, hogy a webáruház használható és működőképes legyen.
Marketing cookie-k
Ezeket a cookie-k segítenek abban, hogy az Ön érdeklődési körének megfelelő reklámokat és termékeket jelenítsük meg a webáruházban.
×
Akciós termékek
Újdonságok
Hírek
Regisztráció / Partnerprogram
Katalógusok
Elérhetőségeink
HUF
EUR
+36 70 943 1927
Kategóriák / Termékek
AKCIÓ
Bútorszerelvények
Ajtóütközők, kilökők
Asztallábak
Egyéb szerelvények
Bútorfüggesztők
Felnyíló Vasalatok
Fogantyúk, fogasok
Kivetőpántok
Polctartók
Szekrénylábak, Görgők
Fiókvasalatok
Duplafalú fiókoldalak
Egyéb fiókvasalatok
Golyós fikcsúszók
Rejtett fiókcsúszók
Konnektorok
Konyhai Kiegészítők
Evőeszköz Tartók
Hulladékgyüjtők
Konyhai Fémrácsok
Lámpák, csillárok
Kerti lámpák
Csillárok
Állólámpák
Asztali lámpák
Fali karok
LED szalahok, profilok, kiegésztők
Szerszámok
Tárolók és Rendszerezők
Tolóajtó rendszerek, Gardrób Kiegészítők
Munka, - védőruházat
Bútorfogantyúk
VIEFE
VIEFE 2025
VIEFE 2026
VIEFE Fogantyúk
VIEFE Fogasok
VIEFE Ajtóütközők
VIEFE Szekrénylábak
FURNIPART
GTV
GTV Fogantyúk
GTV Fogasok
Fiókvasalatok
Fiókoldalak
Impaz fém fiókoldalak
Metalbox fém fiókoldalak
Fióksínek
Golyós fióksínek
Rejtett fióksínek
Görgős fióksínek
Fiókrendszerek
Duplafalú ALUNAN T fiókrendszer
Duplafalú RITMA Slim fiókrendszer
Duplafalú RITMA Cube fiókrendszer
Duplafalú Axis Pro fiókrendszer
Fekete matt
Fekete matt Push-Open
Fekete üvegoldalfallal
Tiszta fehér
Fehér üvegoldalfallal
Tiszta fehér Push-Open
Antracit
Antracit üvegoldalfallal
Antracit Push-Open
Kiegészítő termékek, belső fiók, korlát, szinkronizáló
Konyhai vasalatok
Konyhai vasalatok, fémrácsok
SIGE PRO LINE
SIGE MATERIA
SIGE MATERIA EVO
SIGE INFINITY PLUS
SIGE INFINITY PLUS Antracit
SIGE INFINITY LINE
SIGE INFINITY LINE Antracit
SIGE GREEN LINE
SIGE GREEN LINE Antracit
SIGE GREEN LINE Ezüst szürke
MOVIX PRO
CARGO
Hulladékgyűjtők
Evőeszköz tartók, fiók rendezők
Beépíthető konnektorok
Bútorszerelvények
Ajtófékezők, ajtókilökők
Egyéb szerelvények
Felnyíló vasalatok
Irodai kiegészítők
Kivetőpántok
Csillapított záródású pántok
Normál záródású pántok
Klippes pántok
Modul pántok
Push-open rugó nélküli pántok
Lábak, görgők
Asztallábak
Szekrény szintezők
Dekoratív szekrénylábak
Bútorgörgők
Rögzítés technika
Polctartók
Függesztők
Tolóajtó vasalatok
Zárak
Gardrób liftek, tárolók, kosarak
Világítástechnika
Kábelvezetők
LED lámpák, lámpatestek, szettek
Csillárok, falikarok, asztali-, állólámpák
Állólámpák
Asztali lámpák
Csillárok
Fali karok
Kerti lámpák
LED szalagok, profilok
LED szalagok
LED profilok
LED profilokhoz takarók
LED profilokhoz végzárók
Rögzítők, csazlakozók, kiegészítők
Kapcsolók
Tápegységek, csatlakozók
Beépíthető konnektorok
LED reflektorok
Elemlámpák, fejlámpák
Szerszámok & Kiegészítők
Akkus gépek, tartozékok
Csiszolók, Gyaluk, Marók
Sarokcsiszolók
Fúrók - Csavarbehajtók
Ütvecsavarozók
Fúró - Vésőkalapácsok
Fűrészek
Akkumulátorok, töltők, kiegészítők
Lámpák, Fejlámpák, Reflektorok
Műhely felszerelés
Hosszabbítók
Black Friday 2025 Kiemelt
Kézi szerszámok
Bitek, bit szettek
Csavarhúzók
Dugókulcsok
Fogók
Imbuszkulcsok
Kalapácsok, Fejszék, Vésők
Kézi csiszolók, fűrészek
Kézi szorítók
Mérőeszközök, jelölők
Szikék, tapétavágók, kések
Szilikon és Pur-hab pisztolyok
Tűzőgép és tartozékok
Vésők
Villáskulcsok
Rendezők, Ládák, Tárolók
Elektromos szerszámok tartozékai
Bitek
Csiszoló- , vágó korongok
Forrasztás
Fűrészlapok
Fúró- , vésőszárak
Hőlégfúvók
Kézi csizolók, gravírozók
Ragasztás, tömtés
Munkaruházat
Felsőruházat
Alsóruházat
Láthatósági ruhák, kiegészítők
Lábbelik
Fej-, szem-, arc- és térdvédelem
Kézvédelem
Összes termék
Kezdőlap
Bútorszerelvények
Kivetőpántok
Normál záródású pántok
Modul pántok
Kivetőpánt, rázáródó, csillapított záródású, excentrikus 3D állítással, klippes eurocsavar nélküli talppal h=0
Kivetőpánt, rázáródó, csillapított záródású, excentrikus 3D állítással, klippes eurocsavar nélküli talppal h=0
Gyors szállítás
A raktáron lévő termékeket a 12:00-ig beérkezett rendelések esetén még aznap útnak indítjuk.
Raktárkészlet
Széles termékkínálatunk nagy része azonnal elérhető saját raktárkészletről.
Kedvezmények
Partnerprogramunk tagjai egyedi árakat és rendszeres akciókat élvezhetnek.
610 Ft
(480 Ft + ÁFA)
Menny.:
db
Kosárba rakom
Talp:
Euro csavar nélküli
610 Ft
(480 Ft + ÁFA)
Menny.:
db
Kosárba rakom
Cikkszám:
ZM-ECHC09-3DBEO
Gyártó:
Elérhetőség:
Rendelésre, 1,5-2,5 hét
Kívánságlistára teszem
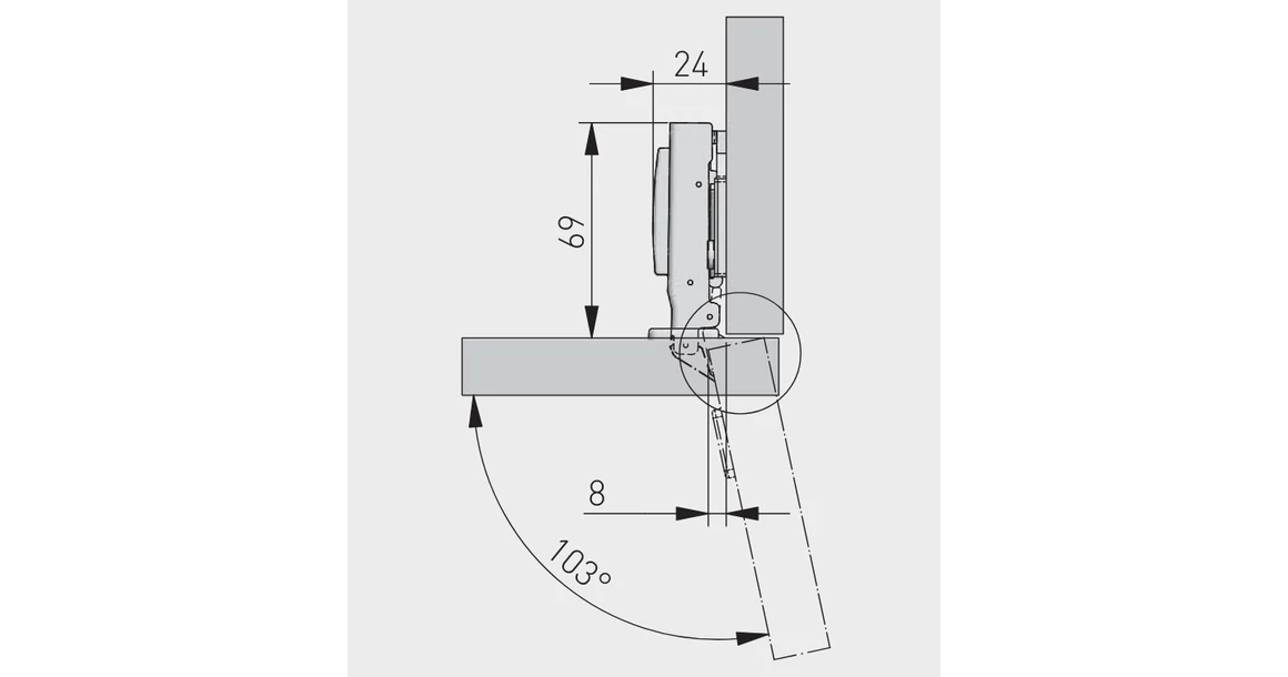
Zawias ECHC rendkívüli tartóssággal büszkélkedhet, melyet 80 000 ciklusra számoltak ki. A csendes záródás technológiájának köszönhetően a Zawias ECHC halk és megbízható működést biztosít. A három síkban történő beállítás lehetővé teszi a megfelelő illesztést a felszerelés során, míg a clip-on technológia használata megkönnyíti a front felszerelését és eltávolítását. A készlet tartalmazza a puszka és a kar takaróját, melyek esztétikus és vonzó megjelenést biztosítanak a zawias felszerelése után. A termék megfelel a PN-EN 15570:2010 / EN 15570:2008 szabványnak.
Leírás
Ismertető
Hasonló termékek
5
Kivetőpánt, Mini, közézáródó, klippes, eurocsavaros talp H=0
Kivetőpánt, Mini, félig rázáródó, klippes, eurocsavaros talp H=0
Kivetőpánt, rázáródó, klippes, rugó nélkül, Push Open-hez eurocsavaros talp h=0
Kivetőpánt, félig rázáródó, csillapított záródású, klippes, eurocsavar nélküli talp h=0 4
Kivetőpánt, rázáródó, csillapított záródású, klippes, eurocsavar nélküli talp h=0 4 - ZM-ECHC09H04-BE
Belépés
Regisztráció
AKCIÓ
Bútorszerelvények
Ajtóütközők, kilökők
Asztallábak
Egyéb szerelvények
Bútorfüggesztők
Felnyíló Vasalatok
Fogantyúk, fogasok
Kivetőpántok
Polctartók
Szekrénylábak, Görgők
Fiókvasalatok
Duplafalú fiókoldalak
Egyéb fiókvasalatok
Golyós fikcsúszók
Rejtett fiókcsúszók
Konnektorok
Konyhai Kiegészítők
Evőeszköz Tartók
Hulladékgyüjtők
Konyhai Fémrácsok
Lámpák, csillárok
Kerti lámpák
Csillárok
Állólámpák
Asztali lámpák
Fali karok
LED szalahok, profilok, kiegésztők
Szerszámok
Tárolók és Rendszerezők
Tolóajtó rendszerek, Gardrób Kiegészítők
Munka, - védőruházat
Bútorfogantyúk
VIEFE
VIEFE 2025
VIEFE 2026
VIEFE Fogantyúk
VIEFE Fogasok
VIEFE Ajtóütközők
VIEFE Szekrénylábak
FURNIPART
GTV
GTV Fogantyúk
GTV Fogasok
Fiókvasalatok
Fiókoldalak
Impaz fém fiókoldalak
Metalbox fém fiókoldalak
Fióksínek
Golyós fióksínek
Rejtett fióksínek
Görgős fióksínek
Fiókrendszerek
Duplafalú ALUNAN T fiókrendszer
Duplafalú RITMA Slim fiókrendszer
Duplafalú RITMA Cube fiókrendszer
Duplafalú Axis Pro fiókrendszer
Fekete matt
Fekete matt Push-Open
Fekete üvegoldalfallal
Tiszta fehér
Fehér üvegoldalfallal
Tiszta fehér Push-Open
Antracit
Antracit üvegoldalfallal
Antracit Push-Open
Kiegészítő termékek, belső fiók, korlát, szinkronizáló
Konyhai vasalatok
Konyhai vasalatok, fémrácsok
SIGE PRO LINE
SIGE MATERIA
SIGE MATERIA EVO
SIGE INFINITY PLUS
SIGE INFINITY PLUS Antracit
SIGE INFINITY LINE
SIGE INFINITY LINE Antracit
SIGE GREEN LINE
SIGE GREEN LINE Antracit
SIGE GREEN LINE Ezüst szürke
MOVIX PRO
CARGO
Hulladékgyűjtők
Evőeszköz tartók, fiók rendezők
Beépíthető konnektorok
Bútorszerelvények
Ajtófékezők, ajtókilökők
Egyéb szerelvények
Felnyíló vasalatok
Irodai kiegészítők
Kivetőpántok
Csillapított záródású pántok
Normál záródású pántok
Klippes pántok
Modul pántok
Push-open rugó nélküli pántok
Lábak, görgők
Asztallábak
Szekrény szintezők
Dekoratív szekrénylábak
Bútorgörgők
Rögzítés technika
Polctartók
Függesztők
Tolóajtó vasalatok
Zárak
Gardrób liftek, tárolók, kosarak
Világítástechnika
Kábelvezetők
LED lámpák, lámpatestek, szettek
Csillárok, falikarok, asztali-, állólámpák
Állólámpák
Asztali lámpák
Csillárok
Fali karok
Kerti lámpák
LED szalagok, profilok
LED szalagok
LED profilok
LED profilokhoz takarók
LED profilokhoz végzárók
Rögzítők, csazlakozók, kiegészítők
Kapcsolók
Tápegységek, csatlakozók
Beépíthető konnektorok
LED reflektorok
Elemlámpák, fejlámpák
Szerszámok & Kiegészítők
Akkus gépek, tartozékok
Csiszolók, Gyaluk, Marók
Sarokcsiszolók
Fúrók - Csavarbehajtók
Ütvecsavarozók
Fúró - Vésőkalapácsok
Fűrészek
Akkumulátorok, töltők, kiegészítők
Lámpák, Fejlámpák, Reflektorok
Műhely felszerelés
Hosszabbítók
Black Friday 2025 Kiemelt
Kézi szerszámok
Bitek, bit szettek
Csavarhúzók
Dugókulcsok
Fogók
Imbuszkulcsok
Kalapácsok, Fejszék, Vésők
Kézi csiszolók, fűrészek
Kézi szorítók
Mérőeszközök, jelölők
Szikék, tapétavágók, kések
Szilikon és Pur-hab pisztolyok
Tűzőgép és tartozékok
Vésők
Villáskulcsok
Rendezők, Ládák, Tárolók
Elektromos szerszámok tartozékai
Bitek
Csiszoló- , vágó korongok
Forrasztás
Fűrészlapok
Fúró- , vésőszárak
Hőlégfúvók
Kézi csizolók, gravírozók
Ragasztás, tömtés
Munkaruházat
Felsőruházat
Alsóruházat
Láthatósági ruhák, kiegészítők
Lábbelik
Fej-, szem-, arc- és térdvédelem
Kézvédelem
Összes termék
Akciós termékek
Újdonságok
Hírek
Regisztráció / Partnerprogram
Katalógusok
Elérhetőségeink
Kapcsolat
+36 70 943 1927
info@triomaxhungary.hu
2142 Nagytarcsa, Asbóth Oszkár utca 4. A. ép. 6.